Close
Canon Patent Application: Stacked Sensor Patent Application
Richard CanonNews
/ Categories: Canon Patents

Canon Patent Application: Stacked Sensor Patent Application

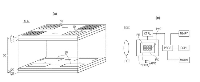
Canon over the years has patented quite a few aspects of stacked sensors.  In a way, while we were surprised that the R3 has a stacked sensor, it wasn't that surprising that Canon was working towards such a sensor.

This patent application deals with the arrangement and orientation of the transistors to improve performance.

It's impossible to really know how many patents Canon will put into their first stacked sensor, but if their IBIS is any indication, they'll make sure their stacked sensors perform quite well even as a first version.

Japan Patent Application 2021-093397

Previous Article Canon Patent Application: Canon RF 24, 28, and 35mm F1.2L
Next Article Canon using camera smile AI for work access
Print
4283
Please login or register to post comments.

Keep In Touch

FacebookTwitterLinkedIn

Our Sponsors

Want to buy me a coffee?

Free Shipping to the USA and Canada*

Use CANONNEWS for $10 off AuroraHDR

Use CANONNEWS for $10 off Luminar

*Conditions may apply

 

CanonNews is not affiliated with Canon Inc. or any of their subsidiaries.

EOS Mirrorless Reviews is not affiliated with Canon Inc. or any of their subsidiaries.

Terms Of UsePrivacy Statement© 2026 by CanonNews. This site is not affiliated with Canon Inc. or it's subsidiaries.
Back To Top