Canon Patent Applicaton: More Vlogging Camera Patent Applications
		
		
		We were the first to bring you this interesting camera device that Canon has researched and the surprising amount of patent applications that Canon has taken out on it, and this week there are even more patents surrounding this device.
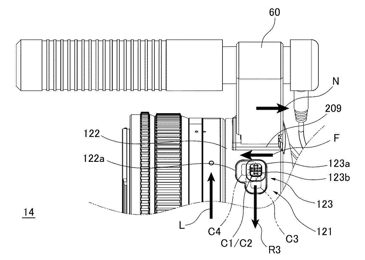
The first patent is interesting because it shows a detailed mechanical breakout of the device, including the mount (images are shown in the gallery below).  Since this is a mirrorless mount given the short distance between the mount and the sensor, the mount in which they show here is the EOS-M mount, simply because of the location of the top mount tab.  On the EOS-R, the mount tab is more centered on top of the lens mount to provide better support for larger lenses.  On the EOS-M, it's shifted more to the right side of center.

With any patent application, the illustrations are rarely proof.  However, in one of the other patents discovered last week showed a mount adapter, which certainly appears as if it's taking the EF mount down to a smaller mount size (thanks dpreview), and it also looks very much like the current EF to EOS-M adapter.

It would actually make a lot of sense, as the smaller lenses of the EOS-M mount would be most suited to such a device.
One of the diagrams also shows the system with an attached shotgun microphone.

This actual patent application (Japan Patent Application 2021-004930) deals with the lens release switch, and interestingly also providing a lens release lock to prevent accidental release of the lens (as you can see from the above image and the arrows of direction around 123)
The next patent Japan Patent Application 2021-005754.  This seems to be dealing with a light-emitting section on the back of the camera housing that lights or warns the surroundings that video is being recorded.  I frankly can't see the purpose of this.   But this is exactly what Canon states;
In the selfie mode, the central control unit 207 causes the light emitting unit 206 to emit strong light. This is to inform the surroundings that shooting is in progress.
The Light-emitting section of the camera unit is shown in this picture below, and as you can see, it's facing in the opposite direction of the lens.

This has to be the most intriguing sets of patent applications that I've seen from Canon, they certainly go into far more detail than I've seen for a product that didn't get released yet.
		
		
		
		
		
		
		
			7826