Canon Researches a Crop Sensor 75-150mm F/4
This was a patent (2026-049828) that popped up recently, and I'm still getting back into the groove of reporting things "over here". It's a curious patent application that MAY have some use for an APS-C camera, if Canon decides to go all in on digital manipulation of the image to objectively produce a full APS-C-sized image circle.
The image loss to the stretch in which we are seeing is only really relevant in the corners, and for 75-150mm, Canon may assume that the vast majority don't care about its light or are cheap enough. Which sounds like Canon's reasoning with this snipped from the patent application.
[A]ccording to this embodiment, a zoom lens can be obtained in which the focus lens is small and lightweight, while high optical performance can be obtained over the entire range of object distances, and an imaging device having the same can be obtained.
Canon's usual half image height (which is the radius of the image circle) is 13.66mm, and for all these embodiments, they are showing 10.75mm. It could also be that Canon has decided to start making lenses for Micro Four Thirds (which is around 10.72mm half image height), but I give that an absolutely 0% chance of happening. Now this patent application makes careful note of surveillance cameras, but it also mentions video cameras, and cameras of other sorts. So perhaps Canon has surveillance image sensors in mind.
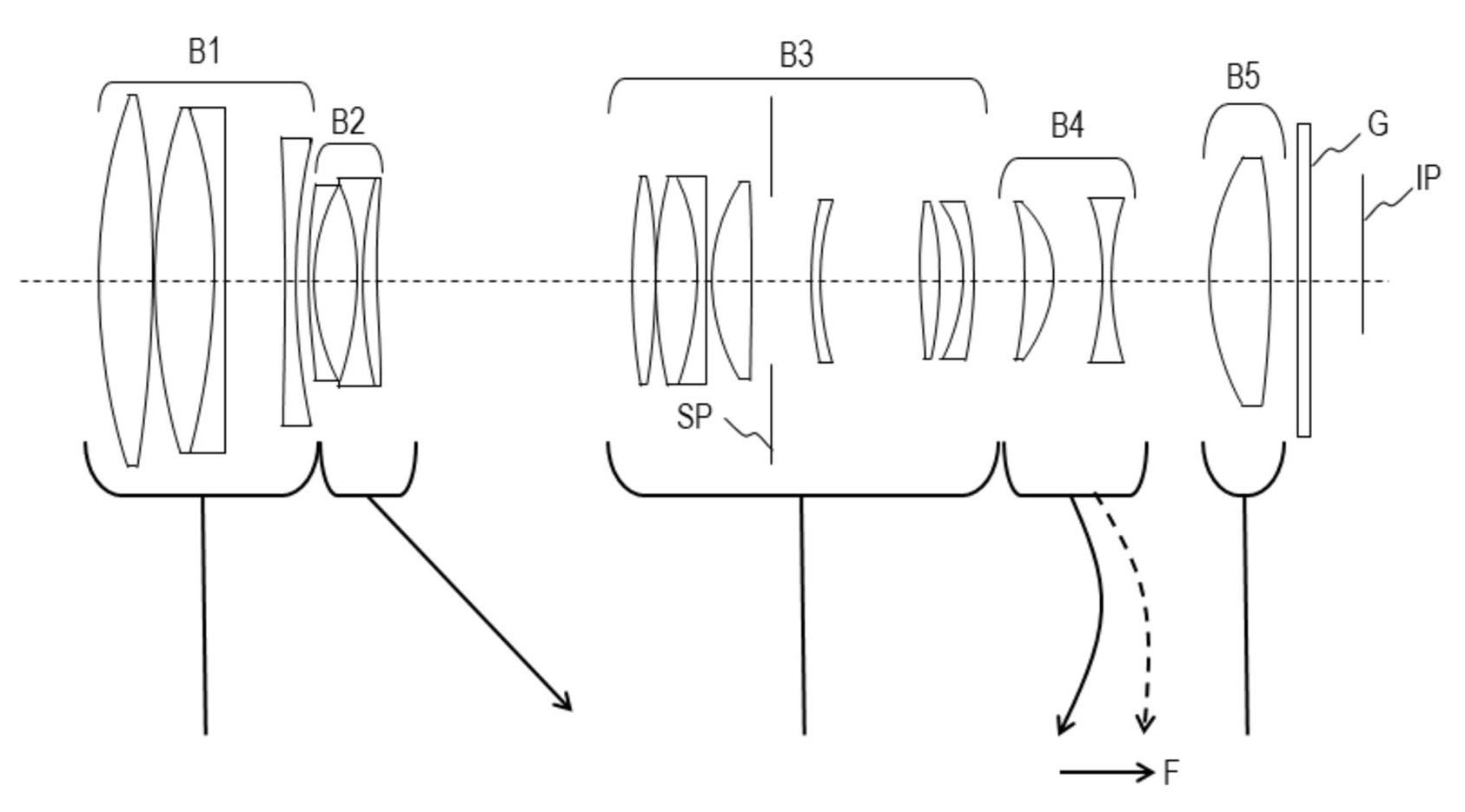
While it's entirely possible that Canon could make this for a networked surveillance camera, nothing is stopping Canon from making this for other purposes, such as giving the RF APS-C users something to lust after, which is why I'm talking about it. There are quite a few embodiments, but they are all basically the same, so I'm going to show only one.
Canon RF 75-150mm F/4L
I'm usually quite liberal when it comes to slapping the L moniker on an embodiment, because, well, why not? In this case, I wasn't originally going to do it, but the design can play tricks on what you think is a simple design, as it still has over 19 elements, which easily puts it into the realm of Canon's RF 70-200mm F4L IS USM, which had only 16 elements over 11 groups. You can find ALL that information on our lens library, by the way - Go here to check it out.
It also appears as if it's possible that this design could be made somewhat collapsible into a smaller resting size.

| |
Wide |
Middle |
Telephoto |
| Focal Length |
75.62 |
108.04 |
147.5 |
| F-Number |
4.12 |
4.12 |
4.12 |
| Angle Of View |
8 |
5.58 |
4.07 |
| Image Height |
10.72 |
10.72 |
10.72 |
| Optical Length |
127.6 |
127.6 |
127.6 |
| Back Focus |
10.43 |
10.43 |
10.43 |
Would this ever make it into Canon's RF lineup? I doubt it personally, at least I hope that Canon does not take a lens that has a smaller image circle throughout its zoom range and release it for the APS-C market. But on the other hand, if it gave decent enough performance, for a reasonable price, then anything is possible, and welcomed.
Final Thoughts
These are my thoughts on patent applications published by Canon via the Japan Patent Office. We don't know if Canon will develop these products, only that the idea was there to develop a patent application. So it's a look far deeper into Canon's research, but that does not mean we will see this soon.
297
blog comments powered by