Search
× Search
Another curved sensor patent application from Canon
Richard CanonNews
/ Categories: Canon Patents
This post may contain affiliate links(s). An affiliate link means I may earn advertising/referral fees if you make a purchase through my link, without any additional cost to you. It helps to keep this site afloat. Thank you in advance for your support. If you like what we do here, maybe buy me a coffee.

Another curved sensor patent application from Canon

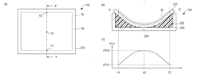
We have found another patent application dealing with some of the problems and issues with curved sensors from Canon.  Unlike some other recent cuved sensor patents, this is a fixed design with a set curve.  

This is an overall patent discussing a curved sensor in general, and goes into specifics on the curving without talking about a method of manufacturing, but details an image sensor, including details of an actual sensor electronically.

As the patent defines the problem in the normal wretched patent-speak;

There is the object of this invention in providing the image sensor which may further improve the homogeneity of the image quality within an imaging surface in the image sensor which corrected the aberration by a curvature of field by incurvating an imaging surface.

Basically the object of this invention is providing an image sensor that further improves the consistency of image quality over an imaging surface, which corrects field curvature by curving or bending the image sensor.  Whew.

Japan Patent Application 2018-019270

 

 

Richard CanonNews

Richard CanonNewsRichard CanonNews

Richard has been using Canon cameras since the 1990s, with his first being the now legendary EOS-3. Since then, Richard has continued to use Canon cameras and now focuses mostly on infrared photography. Richard is the founder and editor of CanonNews since 2017, and has worked as a writer on CanonRumors and other websites in the past.

Other posts by Richard CanonNews
Contact author
Previous Article A couple of sensor patent applications published
Next Article Stacked Sensor Patent Application
Print
Please login or register to post comments.

Contact author

x

Keep In Touch

FacebookTwitterLinkedIn

Terms Of UsePrivacy Statement© 2026 by CanonNews. This site is not affiliated with Canon Inc. or it's subsidiaries.
Back To Top