Search
× Search
Canon Patent Application: Diffraction Optical Element
Richard CanonNews
/ Categories: Canon Patents
This post may contain affiliate links(s). An affiliate link means I may earn advertising/referral fees if you make a purchase through my link, without any additional cost to you. It helps to keep this site afloat. Thank you in advance for your support. If you like what we do here, maybe buy me a coffee.

Canon Patent Application: Diffraction Optical Element

Canon continues to research diffractive optics, as we know, a 600mm DO IS USM has been prototyped and shown off by Canon, so there is little doubt there is more DO lenses coming.  Add to that, the fact that Nikon is happily coming out with PF (their form of DO lenses) at a more rapid pace than Canon is at this time.

This patent deals with the film that exists in between the gratings, that increases the efficiency.  This patent deals with making the film less prone to reflecting light.

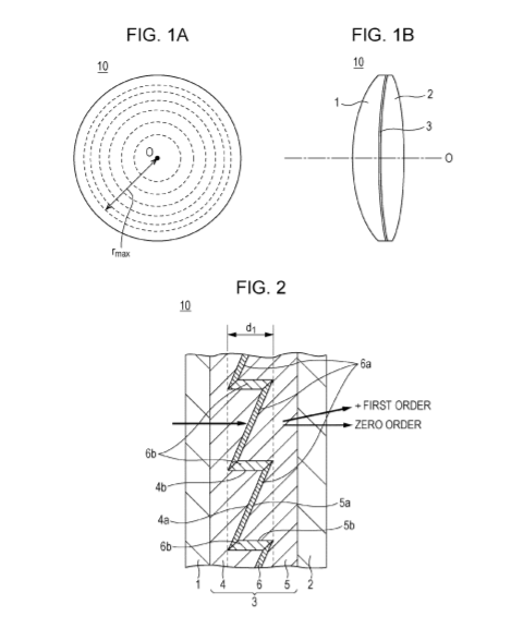
It has been known that the diffraction efficiency of a diffractive optical element including a sawblade-like diffraction grating (blazed grating) is improved in a manner in which a film is formed on a grating wall surface to form a waveguide. 

PTL 1 discloses a diffractive optical element having a waveguide. 

PTL 1 also discloses that films are formed on grating wall surfaces, and at this time, films are formed also on grating surfaces to readily obtain the diffractive optical element having the waveguide at a low cost. 

PTL 1: Japanese Patent Laid-Open No. 2011-257689 

However, the diffractive optical element including the films on the grating surfaces carries a risk of an increase in the light reflectance of each grating surface. 

It is an object of the present invention to decrease the reflectance of each grating surface in the diffractive optical element including films between a first diffraction grating and a second diffraction grating. 

US Patent Application 20180284474

Richard CanonNews

Richard CanonNewsRichard CanonNews

Richard has been using Canon cameras since the 1990s, with his first being the now legendary EOS-3. Since then, Richard has continued to use Canon cameras and now focuses mostly on infrared photography. Richard is the founder and editor of CanonNews since 2017, and has worked as a writer on CanonRumors and other websites in the past.

Other posts by Richard CanonNews
Contact author
Previous Article Canon Patent Application: A better rotary switch
Next Article Canon Patent Application: Photon Counting Sensor
Print
Please login or register to post comments.

Contact author

x

Keep In Touch

FacebookTwitterLinkedIn

Terms Of UsePrivacy Statement© 2026 by CanonNews. This site is not affiliated with Canon Inc. or it's subsidiaries.
Back To Top