Search
× Search
New Supertelephoto patents found
Richard CanonNews
/ Categories: Canon Patents
This post may contain affiliate links(s). An affiliate link means I may earn advertising/referral fees if you make a purchase through my link, without any additional cost to you. It helps to keep this site afloat. Thank you in advance for your support. If you like what we do here, maybe buy me a coffee.

New Supertelephoto patents found

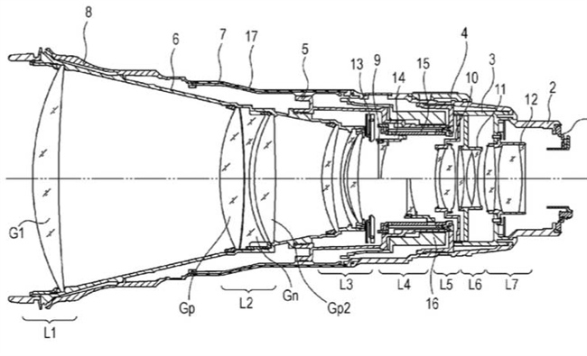
Thanks to Keith at northlight for finding these supertelephoto patents in the US patent office.

These patents are intriguing as most don't include IS.  Even though it's common for patents for element design that don't necessarily include IS elements, it's very rare for a lens patent not to do so because the IS elements are important to the overall characteristics of the lens.  Not all patent applications end up as lenses, at times patents are simply introduced from a defensive posture as well.

Could Canon be considering SuperTelephotos without IS? Seems doubtful considering that IS encorporation these days isn't an expensive process.

US Patent Applications 

20170351113
20170351089
20170351060
20170351059
20170351058

Richard CanonNews

Richard CanonNewsRichard CanonNews

Richard has been using Canon cameras since the 1990s, with his first being the now legendary EOS-3. Since then, Richard has continued to use Canon cameras and now focuses mostly on infrared photography. Richard is the founder and editor of CanonNews since 2017, and has worked as a writer on CanonRumors and other websites in the past.

Other posts by Richard CanonNews
Contact author
Previous Article First hint at a hybrid video stills ILC camera?
Next Article Canon Autofocus patents
Print
Please login or register to post comments.

Contact author

x

Keep In Touch

FacebookTwitterLinkedIn

Terms Of UsePrivacy Statement© 2026 by CanonNews. This site is not affiliated with Canon Inc. or it's subsidiaries.
Back To Top