Close
Canon Patent Application: 1.0x to 2.0x Zoomable Teleconvertor
Richard CanonNews
/ Categories: Canon Patents

Canon Patent Application: 1.0x to 2.0x Zoomable Teleconvertor

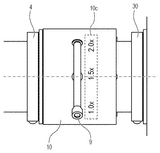
Every now and then I find a patent that I go "wow, this is a cool idea".  This is certainly one of them.  Teleconverters have been with us forever, but this is the first time from Canon that I can think of that I've seen one that could switch a lens from 1.0x to 1.5x and 2.0x by moving a lever.  This could be huge from the aspect of both convenience and also weather sealing where you don't have to continually unmount your lens, and switch teleconverters.

Also curious about this teleconverter is that it doesn't look like the common Canon ones where the teleconverter sits inside of the lens.  This teleconverter would actually work with Canon's newer Canon RF 100-500mm.

Will we ever see it? I'm not sure, but it certainly sounds like a great idea to me.  It's not a complete patent as it does not go into a great amount of detail on the optical formulae, but someone in Canon is certainly thinking about this.  This patent deals with the cam movement of the lever and the elements to change the focal ratio of the teleconverter.

Japan Patent Application 2020-197580

Previous Article Canon Patent Application: Canon RF 35-135mm F2.8
Next Article Canon Japan releases more "fan goods"
Print
9532
Please login or register to post comments.

Keep In Touch

FacebookTwitterLinkedIn

Our Sponsors

Want to buy me a coffee?

Free Shipping to the USA and Canada*

Use CANONNEWS for $10 off AuroraHDR

Use CANONNEWS for $10 off Luminar

*Conditions may apply

 

CanonNews is not affiliated with Canon Inc. or any of their subsidiaries.

EOS Mirrorless Reviews is not affiliated with Canon Inc. or any of their subsidiaries.

Terms Of UsePrivacy Statement© 2026 by CanonNews. This site is not affiliated with Canon Inc. or it's subsidiaries.
Back To Top