New Canon patent application for a hybrid viewfinder
It appears as if Canon isn't giving up on hyrbid viewfinders quite yet.
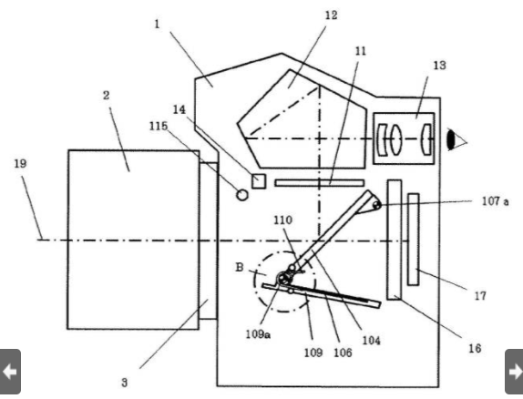
This one is a clever application where the EVF moves up with the mirror, to show the EVF image through the viewfinder.

This one has some real potential for implementation; as the entire optical path for the viewfinder remains the same for EVF and OVF operation, eliminating what would be a far more complex bulk on top of the camera as the last hybrid viewfinder patent demonstratrated.
There is a couple of outstanding problems I see with this solution, one .. what happens to the submirror and PDAF AF assembly? When the EVF is in it's off state would block up the area normally taking by the AF subassembly. One embodiment shows a potential answer where it swings to the side of the mirrorbox, however that would certainly add alot of bulk to the camera.

It certainly shows that Canon is continuing to look at ways and methods of providing optical and electronic hybrid viewfinders for hopefully our next generation DSLR's.
As with all patent applications that we show, this is a patent application. This illustrates to us what Canon is looking at in their research labs. It may or may not become a patent, and may or may not even after that be used in a camera system.
Japan Patent Application JP2017-146322A
Edit:
We also found a corresponding enhancement patent application to this one that describes dust removal from the EVF display.
Japan Patent Application JP2017-147477A
How to view Japan Patent applications.
Unfortunately, there's no direct way of linking to the patent application (sad!) however, this is the easiest process to view a japan patent or application.
- Go to the Japan Patent Office search page.
- If it's a patent application (they are usually in the format of YEAR+Number ie: 2017-011300) then type the patent application number into the second field down from the top where it says publication of patent application.
- Click on search.
- Then click on the patent application number link, and there's the patent application!
11571
blog comments powered by