This post may contain affiliate links(s). An affiliate link means I may earn advertising/referral fees if you make a purchase through my link,
without any additional cost to you. It helps to keep this site afloat. Thank you in advance for your support. If you like what we do here, maybe buy me a
coffee.
Canon Patents a RF 24mm f/1.2L and a RF 35mm f/1.2L
Canon continues its pace in the development of ultra-fast prime lenses for its RF mount. A recent patent application filing suggests that Canon is pursuing lens designs for its Canon RF 35mm f/1.2L and Canon RF 24mm f/1.2L lenses. This has sparked interest among photography enthusiasts regarding the possible imminent release of the much-anticipated "halo" lenses.
Canon's latest patent application (2026-013481, filed with the Japanese Patent Office) outlines the intricate lens designs for the aforementioned lenses. Some of the notable features include:
- Dual focus groups: An innovative design that is meant to improve the lens's autofocus capabilities without compromising the lens's focus breathing, which is critical for video recording and photography.
- Image circle coverage: This ensures the lenses have the capability to cover the entire image sensor, which is critical for full-frame cameras.
- intricate lens designs typical of Canon's L-series lenses.
Some of the detailed specifications of the lenses, according to the patent application, include:
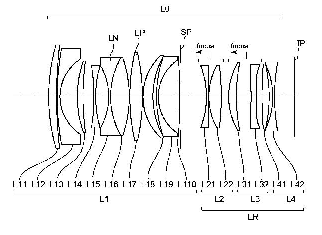
RF 35mm f/1.2L Embodiment

RF 35mm f/1.2 Characteristics
| Focal length |
34.80 |
| F-number |
1.24 |
| Half angle of view |
31.87 |
| Image height |
21.64 |
| Total lens length |
135.00 |
| Back Focus |
11.00 |
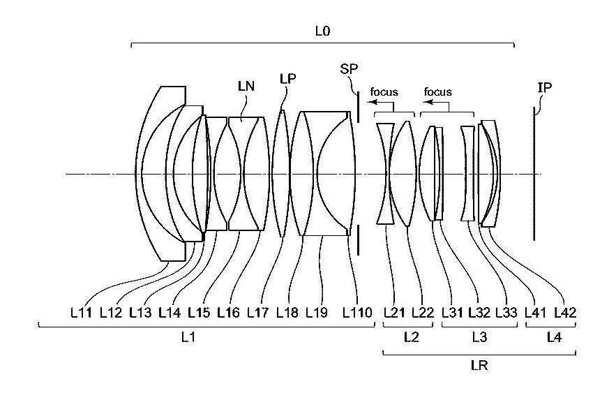
RF 24mm f/1.2L Embodiment

RF 24mm f/1.2 Characteristics
| Focal length |
24.72 |
| F-number |
1.24 |
| Half angle of view |
41.19 |
| Image height |
21.64 |
| Total lens length |
130.00 |
| Back Focus |
11.00 |
Thoughts
The short back focus distances of the lens embodiments, with the lens elements extending into the 20mm flange depth of the camera mount, may be problematic.
It is interesting to note that while the patent documents show Canon's research efforts and significant engineering work going into the lens embodiments, they do not guarantee the production of the lenses or their imminent introduction into the market. Nevertheless, the repeated appearance of the 35mm f/1.2 and 24mm f/1.2 lens embodiments in Canon's patent documents suggests that the company is still committed to addressing the gap in its flagship lineup of f/1.2 prime lenses.
Richard @ CanonNews
Richard has been using Canon cameras since the 1990s, with his first being the now legendary EOS-3. Since then, Richard has continued to use Canon cameras and now focuses mostly on infrared photography. Richard is the founder and editor of CanonNews since 2017, and has worked as a writer on CanonRumors and other websites in the past.
Other posts by Richard @ CanonNews
Contact author
blog comments powered by